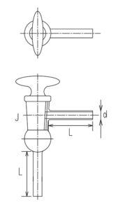
高真空コック
本製品の詳細は、パンフレットでもご覧いただけます。
こちらより無料でダウンロードできますので、是非ご活用ください。
本製品の詳細は、パンフレットでもご覧いただけます。
こちらより無料でダウンロードできますので、是非ご活用ください。
【無料】製品・サービス
カタログダウンロード
「ガラス実験器具」「ガラス製装置」「石英ガラス製品」といった製品カタログから会社案内まで、 各種カタログをダウンロードしていただけます。
無料ダウンロードはこちら製品についてのご相談
「この器具の特注はできますか?」「この仕様の装置を製作できますか?」「こんなことで困っています」など、お気軽にご相談ください。
お問合せはこちらお見積もりのご依頼
お見積は1個から承ります。
「ガラス器具」「ガラス製装置」「その他付帯品」など、規格品から特注品まで対応いたします。
製品やサービスについてのお問い合わせはこちら
営業時間 8:30 - 17:30
(土日祝日除く)